Land Available For Sale @ 13332 Highway 73
13332 Highway 73, Geismar, LA 70734
To view listing contacts please sign in with your Pro account or create a pro account.
Dan A.
Company: requires Pro account
Email: requires Pro account
Phone: requires Pro account
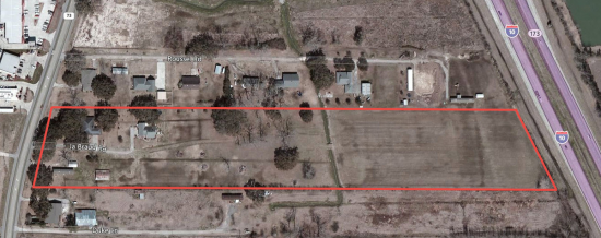
Prime location 13.4 acres vacant land, mostly cleared with DUAL FRONTAGE on both I-10 (351') and Hwy 73 (328') located on Hwy 73 about 800 yards south of I-10 in the high income growth Dutchtown corridor in rapidly developing Ascension Parish. Subject property features commercial zoning MU2 (Mixed Use Corridor) with excellent elevation and no flood zone (zone X). Traffic counts from 2013 show +/- 80,000 cars per day on I-10 and +/- 22,000 cars per day on Hwy 73. Front half of subject property off Hwy 73 contains many large live oaks including a number of centennial oaks which provides a beautiful campus setting. All utilities are available except municipal sewer. The nearby Ascension Parish Library, Dutchtown High, Middle and Primary schools are only a few area highlights.
Links to drone videos:
Hwy 73 frontage flight to rear at I-10
https://www.youtube.com/watch?v=-lAuYTvJzo8
I-10 frontage flight to front at Hwy 73
https://www.youtube.com/watch?v=deERr6FQ_sI
Listing company: James Barse, CCIM -- NAI Latter & Blum
Pricing: Contact for Pricing
Availability: Now
Listing ID: 1056659
